|
孫宏偉(交通部水運科學研究所運達偉業科貿有限責任公司,100088)
摘要:本文以散糧筒倉為例,探討了ControlLogix在大型順序控制中的應用情況;并且根據該項目的實際情況,介紹了ControlLogix系統對羅克韋爾自動化早期產品的無縫隙改造的方法,從而體現了ControlLogix系統在實際應用中的靈活性以及ControlLogix系統的卓越特性。同時,本文介紹了大型順序控制系統 - 散糧筒倉的控制工藝流程。
關鍵詞:ControlLogix 順序控制 流程
一、前言
羅克韋爾自動化公司的自動化產品十幾年來在國內得到了廣泛的應用,特別是其順序控制產品從PLC-3到ControlLogix系統已經應用到全國各行業的實際生產中。
2002年,在秦皇島港散糧碼頭筒倉改擴建工程中采用了羅克韋爾自動化的ControlLogix系統針對原有的控制系統(PLC-3)進行了改造,并增加了新建的筒倉控制系統,使原有筒倉和新建筒倉的設備在ControlLogix控制平臺下進行統一控制。該系統從硬件改造到工藝控制流程都體現了ControlLogix系統的優越性。
二、項目介紹
秦皇島港散糧碼頭筒倉系統于1991年由日本三菱公司建成,主要承擔散糧貨物的進出口及臨時倉儲任務,每年能達到120萬噸的吞吐量,建成之初在亞洲堪稱第一大散糧碼頭,隨著國內經濟的日益發展該碼頭逐漸不能滿足現在的需要,所以秦皇島港務局決定在原有筒倉的基礎上進行改擴建。
原控制系統分為筒倉控制部分、出口線控制部分(由天津電氣傳動所于1995年增加的)、卸船機控制部分和稱重單元控制部分,其中筒倉控制部分采用的是羅克韋爾自動化公司的A-B PLC-3處理器和PLC-5系列I/O,該部分為此次項目改造的主要部分;卸船機部分和稱重單元控制部分采用的是A-B PLC-5/15處理器,這兩部分需要與原有的筒倉部分進行數據交換;出口線控制部分采用的是A-B PLC-5/25處理器,該部分原設計時沒有和其他三部分控制系統進行控制上的連接。(硬件結構示意圖見附圖一)
此次項目改建在原有的78個小筒倉(總容量6.5萬噸)的基礎上,增加了7個大筒倉(總容量7萬噸),全部新老系統I/O點數達到了12000點。新增加的筒倉的控制系統采用了ControlLogix系統I/O,并采用Logix5550處理器對所有I/O進行控制,替代原來的PLC-3處理器,通過DHRIO模板與原有的PLC-5系列的I/O進行通訊。
三、硬件系統
在該項目中,由于要保留原來老筒倉系統的I/O設備,同時采用最新ControlLogix的控制平臺。
先進的ControlLogix控制平臺具有下列特點:
1.無縫連接 - 易于與現有的PLC集成;現有網絡的用戶可以與其它網絡上的程序控制器透明的收發信息。 2.快速性 - ControlLogix平臺通過背板提供了高速的數據傳輸,而ControlLogix系列處理器提供了高速的控制平臺。 3.可升級 - 根據實際需要增加或減少處理器或通訊模板的個數,可在一個框架內使用多個處理器;選擇滿足應用需求的控制器內存容量。 4.工業化 - 提供了一個硬件平臺,可耐受振動、高溫和各種工業環境下的電氣干擾。 5.集成化 - 建立了一個集成多種技術的系統平臺,包括順序控制、運動控制、傳動控制和過程應用。 6.結構緊湊 - 適用于高度分散控制并且配電盤空間有限的場合。
經改造后的系統在硬件上保留了原PLC-5系統的I/O模板和Remote I/O適配器(包括筒倉部分和出口線部分),增加了新筒倉部分的ControlLogix系統的I/O及處理器。
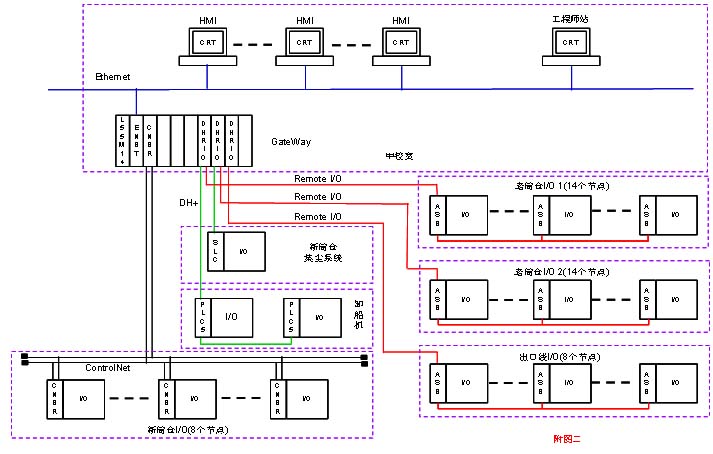
整個系統通過3條Remote鏈路與老筒倉部分(28個Remote I/O站點)和出口線部分I/O(8個Remote I/O站點)進行通訊連接;通過冗余的ControlNet網絡與新筒倉部分的I/O進行通訊(8個ControlNet節點);通過DH+鏈路與原系統的卸船機和新筒倉的集塵控制單元進行數據交換;在中控室我們將Remote I/O鏈路、DH+鏈路、ControlNet鏈路和Ethernet鏈路通過相應的通訊模板集中在一個1756-A10建立了一個Gateway,并通過Ethernet與人機操作系統進行通訊,同時預留了一個DH+通訊口,方便用戶通過Gateway(Ethernet-DH)與6臺秤控PLC-5進行通訊調試。(詳細系統配置圖見附圖二)。
硬件系統特點:
1.繼續采用原有老筒倉系統的I/O,降低了用戶的硬件成本。 2.保留了原有老筒倉系統Remote I/O適配器(1771-ASB)的配置及其它的所有配置,只是將原有的處理器更新,最低限度的減少了改造老系統的風險性。 3.將獨立的出口線部分的I/O聯接到整個系統來,實現了全部I/O統一協調控制的功能,改變了原來使用出口線需要強制老筒倉機械設備信號的情況(使用出口線時需要用到老筒倉系統中的設備)。 4.采用一個1756-L55M14處理器,其強大的功能保證了多流程同時操作的處理能力和速度。 5.Gateway平臺將各種通訊形式匯集到一起,方便了處理器訪問所有I/O,保證了全部控制的統一協調性。同時方便了不同網絡上的設備間的通訊和工程師站對不同網絡下的設備維護、(程序)修改工作。(見數據流向示意圖)

6.利用1756-DHRIO上的DH+接口,為用戶維護現有的6臺稱控PLC-5/15提供了方便(只需將通訊電纜聯接到該端口上即可在工程師站通過Gateway(Ethernet)對稱控PLC實現維護)。 7.Gateway平臺框架中預留的槽架為用戶將來進行其他功能的擴展提供了方便。
經過改造后的控制系統,整合了新老筒倉全部的控制功能,整體的解決了各個系統之間對其他系統的信號需求的要求,使所有設備從控制角度實現了統一的調度控制,改變了原出口線部分操作的時候需要外部人工參與的情況,提高了生產效率。 
四、軟件系統
4.1系統編程軟件
在軟件編制過程中,我們采用了與ControlLogix系統配套的RSLogix5000系列編程環境。RSLogix5000系列編程環境,提供了易于使用且符合IEC 1131-3標準的接口,采用結構和數組的符號化編程,以及專用的順序控制、運動控制、傳動控制和過程控制場合的指令集,大大的提高了編程效率。
靈活的繼電器梯形圖和功能塊圖編輯器,使用戶創建應用程序變得輕松自如。在梯形圖和功能塊編輯器中,用戶能看到標準的、易于使用的且直觀的操作界面。其以下的先進功能幫助程序編制人員方便的編制程序。
1.在線幫助,包括概述信息,編程信息,屏幕信息和參考信息,以及在線參考書,包括電子版的相關參考手冊和用戶手冊 2.容易組態,包括圖形化的控制器管理器,I/O組態對話框,運動組態工具和點擊組態方法 3.完善的數據處理,采用數組和用戶定義結構,可提供必要的靈活性滿足應用系統要求,而不是強迫它去適應特殊的內存結構,如控制器的數據表內存 4.易于使用的I/O尋址方法 5.一個自由格式操作的梯形圖編輯器,可以讓用戶同時修改多個邏輯梯級,也可以通過點擊界面或ASCII輸入提示輸入梯級 6.靈活的,易于使用的功能塊圖編輯器 7.拖放編輯和導航功能,可以快速地從一個數據文件移動數據元素到另一個數據文件,從一個子程序或項目中把梯級移動到另一個,或從梯級將指令移動到另一個梯級,或在一個項目內的指令在功能塊圖之間相互移動 8.包括繼電器梯形圖和功能塊指令的指令集 9.診斷監控能力,包括控制器的狀態顯示,程序驗證功能和強有力的數據監控器
4.2系統工藝描述
散糧筒倉是以散糧裝卸為主的散糧專業碼頭,其接卸能力為2×600噸/小時,設計年通過能力為120萬噸。其控制部分采用的是ControlLogix系列的可編程序控制器控制。
散糧筒倉工藝流程主要包括:船 至 車(卸船)、船 至 倉(卸船)、倒倉(倉 至 倉,翻倉)、(火)車 至 倉(卸車)、倉(火) 至 車(裝車)、倉 至 船(轉船)、余料返回等七大類流程。散糧筒倉系統主要包括大型設備(大型設備是指輸送糧食的刮板機、皮帶機、斗提機等大型設備)、除塵器、閘閥三類設備。
為了防止在物料輸送過程中發生堵料、重載停車和堆料等事故,要求流程最基本的控制方式:啟動時逆料流順序啟動;流程停止時順料流順序停止;當流程運行過程中,如果流程內某一設備出現故障,那么流程上游設備應該緊急停止,下游設備繼續運行,以免發生物料的堵塞,從而造成糧食的撒漏或設備的損壞;當故障排除后,再按照逆料流的順序依次起動流程內的設備。
由于物料在輸送過程中會產生大量的粉塵,為防止粉塵引發安全事故,在大型輸送設備的兩兩連接處還安裝了除塵器。要求在流程啟動前5分鐘啟動除塵器,流程設備停止后除塵器接著運行5分鐘。如果在流程啟動或者運行中除塵器發生故障,那么要求除塵器所關聯的設備要立刻停止,并且由此引發該設備的上游設備立刻停止。除塵器在控制上的特點是每個除塵器的啟停都可以用唯一的一個大型設備的運行(選中狀態)來選擇運行。
所需要控制的閘閥包括三通閘(TW)、開關閥(AG)和與除塵系統相關的氣動、電動閥門。閘閥控制上的特點是可由上下游兩個大型設備或除塵器就可以確定閘閥的開啟或開閉方向。
整個系統可以允許同時4條流程作業。
由以上工藝可以看出,散糧運輸儲存控制系統是典型的順序控制系統。
4.3控制功能實現
在散糧筒倉的工藝流程中,所有的控制動作以流程的方式體現出來,即糧食運送的路徑。所以根據工藝的控制的需要,將流程控制分為流程選取、流程啟動、流程運行、流程停止、故障處理等幾個主要功能部分。我們根據這幾個主要功能部分,針對每個大型設備分為啟動、運行、停止、故障處理等幾個控制部分,每個設備的各個功能由上下游關聯設備進行啟動、運行、停止、故障處理的控制。下面就其中幾個主要部分分別進行介紹。
4.3.1流程選取部分
流程選取部分是整個控制過程中的首要部分,只有選取出要運行的流程,相應的設備才能按照工藝要求運行(動作)。在流程選取時主要有兩種方法:向導式選取法,即根據選取的首尾設備由程序自動選擇首尾設備之間的中間設備;流程表智能選取法,即根據選取的首尾設備在流程表中選取相應的流程。其中,向導式選取法適合于工藝流程路徑少,流程中設備數量少,設備相關性唯一的流程;流程表智能選取法適合于工藝流程路徑多,流程中設備數量多,設備相關性復雜的流程。
在秦皇島散糧筒倉系統中對應7大類的工藝流程有多達486條流程可供選擇,為了充分發揮系統設備的利用率,為系統提供全面的流程路徑,我們在系統方案設計時采取了流程表智能選取法。我們將流程路徑中80多個大型設備(刮板機、提升機、傳送皮帶等)按照順料流的順序排列(對于不同流程中使用到的設備按照流程類型的順序排列),并且根據流程類型將全部486條流程制成流程表,在ControlLogix處理器中采用二維數組(486×3Double Word(32Bits))來存儲流程表。對相應流程中所要采用的設備其對應位置1,非流程使用設備其對應位置0,詳見下表。
ControlLogix處理器通過接受上位機傳送下來的流程選擇一維數組,在該數組中將要進行的流程的首尾設備及流程唯一的關鍵設備(即操作人員在人機操作界面上通過點擊相應的設備將其數組內對應的設備置1,最多選取4個設備就能保證流程唯一)標志出來。在ControlLogix處理器接收到流程選擇命令之后將接受的流程選擇一維數組內的數據按位與二維流程表進行逐條流程的比較,選出相應的流程。同時比較將繼續進行,以判斷流程是否唯一。如果流程不唯一,則標志出流程不唯一,并停止流程選取,同時將該信息傳至人機操作界面提醒操作人員流程選取錯誤重新選取流程。
當流程選取唯一時,流程選取程序將判斷所選的流程設備是否存在設備占用、設備故障等情況(如果存在這些情況該流程就不能運行),并將這些信息反饋回人機操作界面。
在流程設備一切正常后,流程選取程序將被選中的設備的選中標志置1,以便設備得到相應的選中命令。
4.3.2流程狀態控制部分
由于整個系統可以最多同時允許4條相同類型或不同類型的流程運行,所以每個流程的狀態對操作人員全面了解整個系統的運行狀況極為重要。我們將每一條流程的狀態分為:流程選擇中、流程選中、流程啟動中、流程運行、流程停止中、流程故障、流程停止等7種狀態。
從流程選擇開始,就針對該條流程的狀態進行跟蹤,包括流程中各個設備的狀態、閘閥到位情況、除塵器運行情況等等,并向大型設備發出流程啟動和停止信號。在流程選取后,流程狀態控制程序就像被選中的設備標識被第幾條流程(流程1-4)選中的標志,以便選擇的設備按照流程規定的順序運行。
4.3.3大型設備控制部分
在全部工藝流程中有80多臺大型設備,承擔著糧食的輸送、提升等工作,它們分別為刮板機、皮帶機、提升機等,保證了7大類流程的良好運行。
每個大型設備都是按照是否被流程選中的標志(并且能標志出被那條流程選中),然后其根據被選中的標志與其上、下游關聯設備的選中標志進行比較,具有相同流程選中標志的設備為同一條流程上的設備,大型設備根據其下游設備的啟動情況進行順序啟動,根據其上游設備的停止情況進行順序停止,并且根據其下游設備的故障狀態立即停止本身設備及其上游同一條流程的相關設備。依據這種方法,大型設備不用去清楚其所要服務的是什么類型的流程,只要知道其服務于第幾條流程,第1、2、3或4條流程,極大地簡化了設備控制的復雜性。
同時,每個大型設備在控制處理上分為啟動、停止、運行、故障等部分,清晰的體現了設備控制的狀態和方式。
流程中的首尾設備,根據流程狀態控制程序中的對應流程的啟動、停止命令進行啟動(尾設備)、停止(首設備)。
ControlLogix系統作為一個高性能的控制平臺,為實際應用提供了靈活的、方便的應用。其模塊化的結構滿足了不同應用環境的要求;強大的處理能力為各種大型系統良好的運行提供了保證;Ethernet、ControlNet、DH+等眾多網絡形式能隨意的與羅克韋爾自動化各個系統進行透明式的通訊,同時第三方廠家提供的其他類型的網絡接口模板能使ControlLogix系統方便的與Modbus、Profibus等網絡良好的鏈接。與ControlLogix系統配套的RSLogix5000編程環境為開發人員提供了方便快捷的編程、調試手段,本文中介紹的項目由兩位工程師僅僅用了9個月的時間就完成了程序編制、實驗室調試和現場調試的全部工作。
本文中僅介紹了ControlLogix系統強大功能中的一部分 - 順序控制,同時ControlLogix系統還具備運動控制、傳動控制和過程應用等卓越的功能,以及他們的同時混合使用。所以說ControlLogix為各種類型的控制提供了一個高性能的控制平臺,是羅克韋爾自動化提供的新一代的優秀控制平臺。
參考文獻:
[1] 吳燕紅等.可編程控制器在糧庫自動控制系統中的應用.水運科學研究所學報,2000(4) [2] Allen-Bradley.可編程控制器系統手冊
作者簡介:
孫宏偉,1974年生,1996年畢業于吉林電氣化高等?茖W校工業企業電氣自動化專業,現就讀于北京科技大學MBA專業,曾供職于北京市新阿塞克自動技術有限公司、清華同方控制工程公司,從事工業自動化工作6年多,先后主持了國家催化裂化試驗基地自動控制系統、秦皇島港散糧碼頭大型筒倉改擴建工程自動控制系統等大型控制系統項目,具有比較豐富的自動化系統工程項目的技術、工程、管理等經驗。于2002年與交通部水運所運達偉業科貿有限公司合作實施了秦皇島港散糧碼頭大型筒倉改擴建工程自動控制系統。
|